知行黑板报
时间又来到了周二,第八期「知行黑板报」如约而至。
本期的要点如下:
「活钱管理」:货币基金收益回升
「稳健理财」:为什么「我要稳稳的幸福」在且慢和支付宝上的基金不一样?
「长期投资」:为什么之前热门的消费、科技大跌?
「保险保障」:相互宝之类的互助计划与传统商业医疗保险有什么区别?
最近,货币基金收益出现回升。 比如长城收益宝A,今年 7 日年化收益率最低时降到了 2%,目前已经回升到 2.4%。而银行活期理财目前 7 日年化收益率依旧是 2.7% 左右,货币基金和银行活期理财的收益差距在缩小。
货币基金主要投向银行存款、短期债券,这些和短期利率直接挂钩。最近资金面不宽松,短期利率上涨,货币基金收益也好了起来。
最新一期的货币基金筛选结果和上期一致,我们挑选的产品业绩都稳定地排名靠前,大家踏实拿着即可。


9 月第一周,债市仍旧没有摆脱下跌趋势。上图紫色线是中债综合财富(总值)指数,我们可以看到,最近四个月的下跌已经快把今年的收益跌没了。如果说 4 月底开始下跌的时候,有些人还认为是技术性调整、不足为惧,那么现在持续阴跌,则说明债市已经转成全面看空了。
债市迎来了悲观、恐惧的时刻。很多用户纷纷赎回了债基,进一步加剧了债市的调整。循环再次上演:「牛市上涨很多——投资者跑步入场——均值回归市场下跌——投资者亏损离场」。即便在波动这么小的债市,追涨杀跌一样在持续。
对于像「我要稳稳的幸福」这类「固收+」产品,债市下跌对它不利。如果股市能够上涨,还能对其收益有所拉动。例如今年 4 月底到现在,中债综合财富(总值)指数下跌 2.37%,沪深 300 上涨 20.75%,该产品上涨 2.09%。
如果股市表现不佳,收益就会遭受双重打击。这周一就遭遇了股债双杀,下跌 0.53%。不过从历史来看,股债双杀的持续时间很短,主理人也会做好风险控制,大家可以继续持有。
之前有用户咨询:「『我要稳稳的幸福』在不同平台上的基金不一样,是什么情况呢?」
主要原因是产品卖得很好,规模增长得很快。规模大了以后,调仓、买卖等操作,有可能对其持有的单只基金造成冲击。针对这个问题,监管层也设置了相应的比例限制。
所以,「我要稳稳的幸福」在不同平台的持仓会有所差别。但由于目标是一致的,都是为了追求稳健的收益。虽然收益有所差别,但差别较小。大家可以选择自己熟悉的平台进行购买。


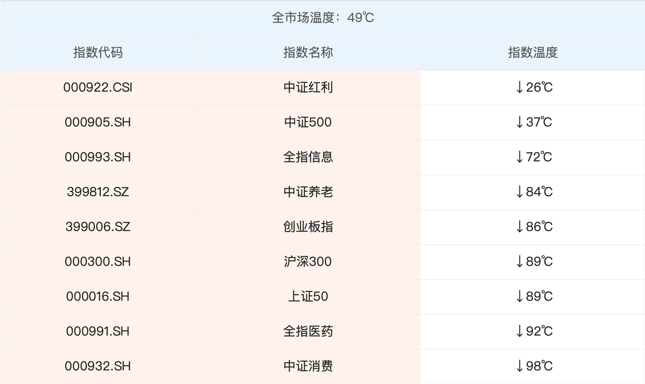
最近一周股市出现回调,尤其是周一的大跌,让大家的资产缩水不少。中证红利、上证 50 相对抗跌,而中小板指、创业板指跌得很惨。行业方面,采掘、钢铁、房地产、银行这种今年还处于亏损状态的,相对抗跌一些。而热门的、被称为核心资产的消费、科技、医药,跌幅很大。
为什么核心资产会出现大跌呢?外因是美股大跌和中美摩擦升级。上周四、周五美股出现大跌,市场担忧美股估值太高、泡沫会破裂,避险情绪升高会引起外资流出 A 股。而外资持股占比较高的消费龙头就会面临下跌压力。再加上美国大选在即,中美摩擦有可能会升级,而中美贸易摩擦重要聚焦领域就是科技。
内因则是消费、科技、医药经历了长时间的上涨,估值已经处于高位。一旦有风吹草动,就会出现大的调整。高估的品种整体性价比不高,我们需要耐心等待。
在 7 月初市场上涨的时候,有用户有疑问:「市场正处于上涨过程中,为什么只配置三、四成的股票仓位?为什么不满仓干呢?」现在这种情况,仓位管理的作用就体现出来了。
如果后续市场继续调整,股市温度以及各个指数的温度就会降低,我们会根据情况指导大家进行加仓。

上期有用户问了一个问题:「医药、消费近一年涨得太多,处于高位,我明白。不明白的是为什么沪深300温度也那么高,和医药差不多?」
我们计算的每个指数的温度,是跟自己的历史数据进行对比的,而不是跟其他指数进行比较。
下图展示了沪深 300 历史温度和沪深 300 指数的对比情况。从图上能看出来,沪深 300 最新温度是 89℃,已经处于高估区间。为什么会这样呢?

这几年沪深 300 指数虽然不如医药、消费涨得猛,但涨幅也不少,最新点位已经快达到 2015 年的水平了,指数价格的上涨带来了估值地提升。
另外,这几年市场呈现结构性行情,龙头股上涨明显,估值提升得很快。我们在计算指数估值时,为了更接近沪深 300 指数的实际情况,采用的是其真实权重。
沪深 300 的真实权重是自由流通市值加权,龙头股由于自由流通市值很高,所以权重要高一些。龙头股这几年的优异表现,会带动沪深 300 的估值温度有所提升。
上一期黑板报有用户留言:「相互宝之类的互助计划与传统商业医疗保险有什么区别?买哪种合适?」
现在互助计划太多,不同互助计划之间会有区别,以下我就选用参与成员最多的相互宝来举例说明。
题目问到的是相互宝跟医疗险的区别,但其实从理赔形式上来看,相互宝跟重疾险更像一些,所以这个问题我分为两部分来回答:
相互宝和重疾险都是得了合同约定的大病,一次性赔付一笔钱(保额或者互助金)。
相互宝的优点很明显,众所周知的「保费」便宜、门槛低。
但本质上来说相互宝并不是保险,会存在明显的缺点:
监管空白。网络互助不属于保险行业,不归银保监会监管。发生理赔纠纷的话,在处理保险产品理赔纠纷时适用的方式,可能在相互宝上就失效了。
不确定性强。一、产品能否持续运营;二、健康告知方面,重疾险只要投保的时候符合健康告知,后续健康告知的变化对保障不再产生影响。相互宝要求的是,加入时的身体情况需要符合最新版的健康要求,而健康要求的变化是不确定的。
一、理赔方式,医疗险是报销治疗费用,不是一笔赔付互助金;二、保障范围,医疗险没有病种上的限制,不要求一定是合同约定的疾病才可以。
医疗险在保障范围上会比相互宝更广一些,而且保费并不高,个人非常建议买上一份。
关于相互宝,符合健康要求的情况下,个人也很建议加入。一方面是因为性价比,保障过得去,分摊下来的钱,却比一年期重疾险的保费便宜不少;另一方面,我也认为这是一件很有意义的事情。相互宝的团队,希望通过产品创新,惠及更广大的群体,这条路很难,但他们的初心与勇气,非常值得鼓励。更重要的是,每一次分摊背后,有几千个病人和家庭,得到了实实在在的帮助,我们支付的每一笔钱,都给这个无常的世界释放了一些暖意。
不过是否要把它作为主要保障,就需要考虑是否能够接受它的缺点了。
因为篇幅有限,简单写了一下我对相互宝的认识。做一个小互动吧:你加入相互宝了吗?对它的看法是什么?另外,如果大家有问题,可以在想法区留言,我会逐一回答。
活钱管理:打理零花钱,应对日常开支。一般建议保留 3~6 个月的工资。对于活钱,我们的投资原则是安全性高、随用随取、收益高于银行存款、少操心。
稳健理财:追求稳健增值,控制回撤。适合中短期(3 年以内)就要用到的钱,或者本身因为年龄、风险承受能力等偏好稳健产品的人。
长期投资:目标是通过长期投资, 获取经济增长的红利。主要投向股票市场,股票市场周期长、波动大,我们通过持有好的资产,控制买入成本,长期坚持,期望获得比其他三笔更高的收益。
保险保障:如果我们一生顺遂,有前三笔钱就足够了。但生活中总是存在着意料之外的风险,打断我们原本设定好的计划。因此,拿出来一部分资金配置保险,为家庭财务铺好安全垫,是很有必要的。
四笔钱如何划分,需要结合个人的财务状况、投资目标、年龄阶段、风险承受能力等去划分。没有标准答案,适合自己的才是最好的。
本文章所载信息仅供参考,不构成任何投资建议。如转载使用,请参考《文章转载声明》
加入相互保其实更多的不是看重他的保障,而只是一种支持,就当自己每个月做公益了
加入相互宝快一年了,最开始确实是把它当做一种保障来加入的,后来越来越将它看做是一件公益了。我们普通人没有很多的渠道与精力去专门做公益,但在相互宝这里,我真切地看到了自己的一份力,给别的家庭带来了实实在在的帮助。 其实想想,每个月只需缴纳两根冰棍的费用,就能够带来做公益的成就感,有时还会被邀请参加赔审团,帮助决定具体的案例赔不赔,其实挺有意思的,而相互宝本身对我的保障作用,就完全当作附带的了。
同一个产品在不同平台的持仓不同,给我们大家解疑答惑了,谢谢! 在市场一路向上的时候可能看不出资产配置的重要性,但在市场剧烈震荡或跌跌不休时仓位管理的重要性就凸显出来了。谁知盘中餐,粒粒皆辛苦,要养成一个好习惯,别成了寒号鸟,凡事早做准备,手里有的时候省着花不乱花,境况差的时候才有底气任性的活。 上涨行情就是水(量)涨船(价)高,下跌如同攀岩,一旦没有新的力量注入抓不牢则会一落千丈。投资如人生,不会一帆风顺,总有磕磕绊绊,但只要提前有准备,过程中找到好方法有耐心,总会走过去。眼光放远,时光轴拉长看,肯定会一路向北,投资如此,人生亦如此。 关于保险,我没有加入相互宝,认为专业的事找专业的人去做更稳妥更合适。想理财买基金,想保障就买纯保险类的产品,像早些年盛行的分红险就…,如果想鱼与熊掌兼得,那可能是当时的你想多了——心里美而已。
同意以上说法,说说相互宝吧,与其把相互宝当作保障,不如把它看做是做公益。嘴天看到一个还算不上朋友的朋友说,起心动念时,是想给予别人还是想从别人那获取更多,很大程度上决定一个人的生命的高度与宽度。我觉得很适合我们自观加入相互宝时的心态,如果你是为了给予,给这个无常的世界释放丝丝暖意那么何乐而不为呢?如果你是想从中获取更多,那相互宝很可能会让你失望,天下没有免费的午餐,选择商业保险吧,你所付出的和你收获的很多时候都是成正比的。
为父母加入了相互保。把相互保作为老年人重疾险的一个低配替代。父母年纪大了,买商业重疾险太贵,性价比太低,在指导父母买好医保的基础上,另外给父母配置了意外险,医疗险和相互保。
相互宝目前一次分摊4块钱左右,一年大概100元,这既可以说是一份公益也可以作为一份重疾险的补充,资金有限的也可以参与一下,总比万一得了重疾掏空家底,或者去什么水滴筹之类的发个筹款然后满朋友圈的转发求助来得稍微体面一点吧?我目前重疾额度不够,暂时用这个作为补充吧
我有个疑问:大成中证红利指数A申购费率1.2%,托管费0.15%+管理费0.75%,赎回7天内1.5%1年后0.5%2年免费。 对比:易方达中证红利ETF联接A申购费率0.6%,托管费0.05%+管理费0.15%,赎回7天内1.5%30天后0.5%180天免费。 后者费率上便宜太多,而且目前规模5亿暂时打新收益更大。 是否用后者替换前者更好?是不是还有什么我没有考虑到的? 至于相互保,我因为更信任商业保险,觉得相互保无监管条款随意变......连进入我的保险备选的资格都没有。之前也没有从公益的角度考虑过。依然有疑问:它比商业百万医疗险便宜很多吗?如果相差不大,是否它的存在反而会使有些人忽略了商业险呢?我觉得我需要再想一想,再决定是否把它加入我的公益库备选。 @认识「有知有行」的第60天 2020.09.11
可以理解「相互宝」是网络效应和影响人数更大的「水滴筹」。 很多人把「相互宝」当作公益,不会像「水滴筹」那样带来压力。
已经配置了重疾险和医疗险,所以就没有加入相互保了~
已经加入相互宝快半年了感觉,然后将爸妈也加入了相互宝,第一是感觉爸妈的年纪买重疾险的话,经济支出会比较大;其二是相互宝确实便宜,保障的项目挺多,对于未来的不确定性也算有了一份保障。